- Главная
- Продукция
- Калориферы КСк
- Калориферы КПСк
- Теплообменники
- Воздухонагреватели водяные ВНВ113
- Воздухонагреватели паровые ВНП113
- Воздухонагреватели водяные ВНВ123
- Воздухонагреватели паровые ВНП123
- Воздухонагреватели ВНВ113МС
- Воздухонагреватели ВНВ113МБ
- Воздухонагреватели ВНП113ФС
- Воздухонагреватели ВНП113ФБ
- Калориферы (маслоохладители) КМ5 и КМ6
- Калориферы энергетические КПВ3 и КПВ5
- Агрегаты АВ с теплоносителем - вода
- Агрегаты АП с теплоносителем - пар
- Агрегаты воздушно-отопительные АО2
- Вентиляторы осевые ВО-18-287
- Агрегаты воздушно-отопительные СТД
- Агрегаты воздушно-отопительные СТД-300М
- Агрегаты воздушно-отопительные АО2М
- Электрокалориферные установки ЭКОЦ
- Электроустановки воздухонагревательные УВНЭ
- Установки воздухонагревательные ВНУ
- Воздухонагреватели электрические ВНЭ
- Воздухонагреватели электрические серии ВЭ
- Тепловые завесы
- Установки воздухонагревательные электрические УВЭ
- Тепловентиляторы
- Воздухонагревательные установки типа ВУ
- Установка воздухонагревательная для сушилок УВС
- Тепловые пушки
- Инфракрасные обогреватели
- Вентиляторы дутьевые ВД и ВДН
- Дымососы центробежные Д и ДН
- Вентилятор осевой ВО-06-300
- Установки электрокалориферные СФОЦ
- Установки электрокалориферные ЭКУ
- Агрегаты вентиляционно-приточные АВП
- Радиальные вентиляторы среднего давления ВР-285-44
- Вентиляторы мельничные
- Вентиляторы дутьевые
- Дымососы
- Вентиляторы радиальные ВЦ 14-46
- Вентиляторы радиальные ВЦ 4-75
- Вентиляторы радиальные высокого давления ВР-132-30
- Калориферы
- Вентиляторы радиальные пылевые ВРП
- Вентиляторы крышные радиальные ВКР
- Дестратификаторы
- Радиальные вентиляторы низкого давления ВР-80-75
- Тепловентиляторы электрические
- Вентиляторы
- Контакты
- Таблица замены
- Доставка
- Прайс-лист
тел: +7 (495) 974-97-11 info@tdkalorifer.ru адрес: 115280, г. Москва, ул. Ленинская Слобода, д. 23, стр. 16Дымосос ДН-12,5
| Продукция - Дымососы |
Дымосос ДН-12,5 предназначен для перемещения (отсасывания) дымовых газов из топок стационарных паровых и котельных агрегатов, системах вентиляции оборудованных системами золоулавливания с запыленностью не более 2 г/м3и температурой не более 200°С.
ДН-12,5 - дымосос рассчитан на продолжительный режим работы в условиях умеренного (У) климата 2-й категории размещения согласно ГОСТ 15150-69 со значением температур окружающей среды от минус 30 °С до плюс 40 °С, относительной влажности воздуха 80%, высота над уровнем моря - не более 1000 м в условиях умеренного (У) климата категории размещения 2 по ГОСТ 15150.
ОБЩИЕ СВЕДЕНИЯ:
- конструктивное исполнение – 1; 2; 4;
- одностороннего всасывания;
- корпус спиральный поворотный;
- назад загнутые лопатки;
- количество лопаток – 16;
- направление вращения – правое и левое.
ВАРИАНТЫ ИЗГТОВЛЕНИЯ:
- из углеродистой стали;
- из коррозионно-стойкой стали (К1).
УСЛОВИЯ ЭКСПЛУАТАЦИИ:
Эксплуатация вентилятора допускается при температуре перемещаемых газов не выше 200оС с запыленностью не более 2 г на кубический метр.
ТЕХНИЧЕСКИЕ ХАРАКТЕРИСТИКИ:
|
Двигатель |
Расход, м3/ч |
Давление полное, кг/м2 |
Масса, кг |
||
|
мощность, кВт |
об/мин |
без двигателя |
полная |
||
|
45 |
1000 |
26000 |
155 |
800 |
1250 |
|
75 |
1450 |
||||
|
75 |
1500 |
39900 |
440 |
1250 |
|
|
90 |
1300 |
||||
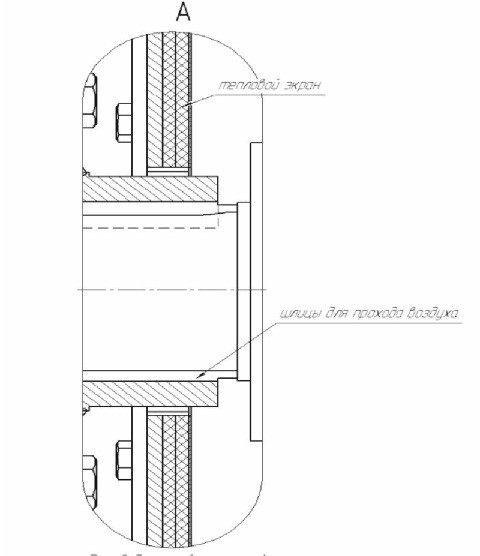
ПОЛОЖЕНИЯ КОРПУСА ВЕНТИЛЯТОРА
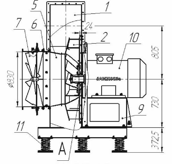
ГАБАРИТНЫЕ И ПРИСОЕДИНИТЕЛЬНЫЕ РАЗМЕРЫ
Исполнение 01
Исполнение 04 (на виброосновании)
1– Корпус; 2 – Колесо рабочее; 5 – Коллектор; 6 – Фланец входной;
7 – Аппарат направляющий; 9 – Рама; 10 – Электродвигатель; 11 – Виброизолятор.
20 – Фиксатор.
Дымосос ДН-12,5
| Следующая > |
|---|








